复合型宠物针灸床

1.本实用新型涉及动物医疗设备技术领域,具体涉及一种复合型宠物针灸床。
背景技术:
2.针灸是中医用于治疗风湿类疾病常用的医学疗法,目前,兽医界也将这项技术运用到动物身上,并取得了一定的效果。在对动物进行针灸治疗时,需要借助特定的保定装置将动物保定,便于医疗人员准确地获取穴位。为此,现在市面上出现了专门针对宠物针灸用的针灸架,比较典型的一种是采用网格状的床面保定,将动物的肢体放入网孔内。这一过程需要将宠物抱起,然后放在网格状床面上进行保定。然而,对于体型较大的犬类动物,人力难以抱起,也难以将宠物的四肢对准网孔,从而将其放在床面上。使得医疗工作难以进行。而与宠物的体型对应的针灸床高度也较高,宠物也无法自行走到床面上。
技术实现要素:
3.为解决上述技术问题,本实用新型提供了一种复合型宠物针灸床。
4.本实用新型通过以下技术方案得以实现。
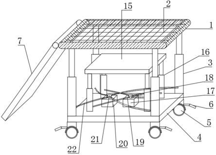
5.本实用新型提供的复合型宠物针灸床,包括床架、支腿、底座,所述支腿一端与床架连接,另一端与底座连接,所述底座下方设有走轮,所述床架上设有网格状的床面,床架侧面铰接有搭板,所述搭板长度可伸缩。
6.所述搭板包括板件一,板件一内设有滑槽一,滑槽一内设有板件二。
7.所述滑槽一的槽口处设有限位卡一,板件二上设有限位卡二,限位卡一与限位卡二在板件二的滑动方向上的投影至少部分重合。
8.所述板件二内还设有滑槽二,滑槽二内设有板件三。
9.所述搭板端部还设有限位扣机构。
10.所述床架下方还设有平台,平台下方设有升降腿,升降腿下端连接在底座上。
11.还包括液压箱一,液压箱一的液压出口设有分流腔一,分流腔一通过液压管线一与各升降腿连接,所述升降腿为液压升降腿。
12.所述支腿为液压伸缩支腿。
13.还包括液压箱二,液压箱二的液压出口设有分流腔二,分流腔二通过液压管线二与各液压伸缩支腿连接。
14.所述走轮上设有制动踏板。
15.本实用新型的有益效果在于:
16.采用本实用新型,宠物可沿着搭板自行走到床面上,无需人为抱起,减小了将大型宠物放到针灸床上保定的难度。搭板不适用时,可沿着铰接轴收束,减小了对空间的占用。另外,本实用新型方便移动,便于更换工作地点。
附图说明
17.图1是本实用新型的结构示意图;
18.图2是搭板的结构示意图。
19.图中:1-床架;2-床面;3-支腿;4-底座;5-走轮;6-制动踏板; 7-搭板;8-板件一;9-滑槽一;10-板件二;11-限位卡一;12-限位卡二;13-滑槽二;14-板件三;15-平台;16-升降腿;17-液压箱一;18
‑ꢀ
分流腔一;19-液压管线一;20-液压箱二;21-分流腔二;22-液压管线二;23-限位扣机构。
具体实施方式
20.下面进一步描述本实用新型的技术方案,但要求保护的范围并不局限于所述。
21.如图1~2所示为本实用新型的结构示意图:
22.本实用新型提供了一种复合型宠物针灸床,包括床架1、支腿3、底座4,所述支腿3一端与床架1连接,另一端与底座4连接,所述底座 4下方设有走轮5,所述床架1上设有网格状的床面2,床架1侧面铰接有搭板7,所述搭板7长度可伸缩。
23.采用本实用新型,宠物可沿着搭板7自行走到床面2上,无需人为抱起,减小了将大型宠物放到针灸床上保定的难度。搭板7不适用时,可沿着铰接轴收束,减小了对空间的占用。另外,本实用新型方便移动,便于更换工作地点。
24.所述搭板7包括板件一8,板件一8内设有滑槽一9,滑槽一9内设有板件二10。板件二10可沿滑槽滑动,便于使搭板7的长度伸缩。
25.所述滑槽一9的槽口处设有限位卡一11,板件二10上设有限位卡二12,限位卡一11与限位卡二12在板件二10的滑动方向上的投影至少部分重合。便于防止板件二10滑出滑槽。
26.所述板件二10内还设有滑槽二13,滑槽二13内设有板件三14。增加了搭板7的可伸缩范围,使得搭板7的最小长度可进一步减小,最大长度可进一步增大。
27.所述板件三14的外形与板件二10相同。
28.所述搭板7端部还设有限位扣机构23。限位扣机构23可以是塔扣,便于在搭板7收短后保持其收缩状态,限制其伸长。
29.所述床架1下方还设有平台15,平台15下方设有升降腿16,升降腿16下端连接在底座4上。当宠物犬沿着搭板7走到床面2上时,可先站立于平台15上,然后缓慢降低升降腿16,由床架1逐渐对宠物的四肢形成支撑。降低了宠物走上床面2上的难度。
30.还包括液压箱一17,液压箱一17的液压出口设有分流腔一18,分流腔一18通过液压管线一19与各升降腿16连接,所述升降腿16为液压升降腿16。使得各升降腿16的压力均匀,伸缩状态同步,避免晃动,减小动物的紧张感。
31.所述支腿3为液压伸缩支腿。便于调节床架1的高度,降低床架1 高度便于使宠物走到床面2上,然后根据宠物的体型将床架1升高至适当的高度。
32.还包括液压箱二20,液压箱二20的液压出口设有分流腔二21,分流腔二21通过液压管线二22与各液压伸缩支腿连接。使得各升降腿16 的压力均匀,伸缩状态同步,避免晃动,减小动物的紧张感。
33.所述走轮5上设有制动踏板6。防止针灸工作的过程中床架1移动,提高了安全性。
技术特征:
1.一种复合型宠物针灸床,其特征在于:包括床架(1)、支腿(3)、底座(4),所述支腿(3)一端与床架(1)连接,另一端与底座(4)连接,所述底座(4)下方设有走轮(5),所述床架(1)上设有网格状的床面(2),床架(1)侧面铰接有搭板(7),所述搭板(7)长度可伸缩。2.如权利要求1所述的复合型宠物针灸床,其特征在于:所述搭板(7)包括板件一(8),板件一(8)内设有滑槽一(9),滑槽一(9)内设有板件二(10)。3.如权利要求2所述的复合型宠物针灸床,其特征在于:所述滑槽一(9)的槽口处设有限位卡一(11),板件二(10)上设有限位卡二(12),限位卡一(11)与限位卡二(12)在板件二(10)的滑动方向上的投影至少部分重合。4.如权利要求3所述的复合型宠物针灸床,其特征在于:所述板件二(10)内还设有滑槽二(13),滑槽二(13)内设有板件三(14)。5.如权利要求4所述的复合型宠物针灸床,其特征在于:所述板件三(14)的外形与板件二(10)相同。6.如权利要求2所述的复合型宠物针灸床,其特征在于:所述搭板(7)端部还设有限位扣机构(23)。7.如权利要求1所述的复合型宠物针灸床,其特征在于:所述床架(1)下方还设有平台(15),平台(15)下方设有升降腿(16),升降腿(16)下端连接在底座(4)上。8.如权利要求7所述的复合型宠物针灸床,其特征在于:还包括液压箱一(17),液压箱一(17)的液压出口设有分流腔一(18),分流腔一(18)通过液压管线一(19)与各升降腿(16)连接,所述升降腿(16)为液压升降腿(16)。9.如权利要求1所述的复合型宠物针灸床,其特征在于:所述支腿(3)为液压伸缩支腿。10.如权利要求9所述的复合型宠物针灸床,其特征在于:还包括液压箱二(20),液压箱二(20)的液压出口设有分流腔二(21),分流腔二(21)通过液压管线二(22)与各液压伸缩支腿连接。
技术总结
本实用新型提供了一种复合型宠物针灸床,包括床架、支腿、底座,所述支腿一端与床架连接,另一端与底座连接,所述底座下方设有走轮,所述床架上设有网格状的床面,床架侧面铰接有搭板,所述搭板长度可伸缩。采用本实用新型,宠物可沿着搭板自行走到床面上,无需人为抱起,减小了将大型宠物放到针灸床上保定的难度。搭板不适用时,可沿着铰接轴收束,减小了对空间的占用。另外,本实用新型方便移动,便于更换工作地点。另外,床架下方还设有平台,平台下方设有升降腿,升降腿下端连接在底座上。宠物可先站立于平台上,然后缓慢降低升降腿,降低了宠物走上床面上的难度。物走上床面上的难度。物走上床面上的难度。
技术研发人员:罗杰 吴强 朱锋钊 段俊红 陈颖 高俊波 刘玉梅 杨帆
受保护的技术使用者:铜仁职业技术学院
技术研发日:2020.11.28
技术公布日:2022/1/21
相关知识
移动式宠物针灸床
一种宠物犬针炙床.pdf
宠物针灸
宠物针灸的意思
宠物针灸多少钱一次
诊所为宠物做针灸理疗 针灸的好处
宠物针灸渐流行
美国悄然兴起宠物针灸
宠物针灸治疗疾病
宠物针灸新思维经验总结
网址: 复合型宠物针灸床 https://www.mcbbbk.com/newsview1065328.html
| 上一篇: 超可爱室内猪形狗洞穴床 |
下一篇: Dog Bed Luxury,D |
推荐分享
- 1养玉米蛇的危害 28694
- 2狗交配为什么会锁住?从狗狗生 7180
- 3我的狗老公李淑敏33——如何 6236
- 4豆柴犬为什么不建议养?可爱的 4637
- 5南京宠物粮食薄荷饼宠物食品包 4563
- 6中国境内禁养的十大鸟种,你知 4429
- 7湖南隆飞尔动物药业有限公司宠 4259
- 8自制狗狗辅食:棉花面纱犬的美 4257
- 9家养水獭多少钱一只正常 4212
- 10广州哪里卖宠物猫狗的选择性多 4122
