一种降低动物应激反应的训练平台的制作方法

本实用新型属于动物训练平台领域,具体涉及一种降低动物应激反应的训练平台。
背景技术:
动物的行为训练可以定义为一种学习行为,这种学习是由人类来授意或指令,使动物在展示自然行为的基础上,改变其原有行为方式的过程叫动物行为训练。通过行为训练,动物可以在没有人工强硬抓捕、限制体重、强制进食或化学保定的情况下,在没有制约和强迫的条件下平静自然地完成各种日常管理和治疗,中国实用新型专利cn207640528u公开了一种动物园兽医用动物保定架,绑定动物时,将支撑杆调整至支架的最低处,然后将动物驱赶至两排支架之间的空隙内,然后调整支架的插接结构,使其适应动物的体型,然后转动调节旋钮紧固铰接轮,使保定架的结构固定,初步使动物得到保定,再调节旋钮上的转动部,带动的绑带从下方兜住动物的腹部,从而使动物得到进一步的保定。
该专利公开的动物保定装置结构复杂,使用不便,制作成本相对较高,不适用于散养或圈养动物日常在室内进行医学检查或生理研究的模拟训练,针对现有技术的不足,需要一种简单实用、便于操作的动物训练平台,经过此平台训练,动物可以在没有人工强硬抓捕、强制进食或化学保定等制约及强迫的条件下平静自然地完成各种日常管理和治疗。
技术实现要素:
为了解决市场上现有的动物保定装置结构复杂,使用不便,制作成本相对较高,不适用于散养或圈养动物日常在室内进行医学检查或生理研究的模拟训练的问题,本实用新型提供一种降低动物应激反应的训练平台,该平台结构简单实用,便于操作,制作成本低,经过此平台训练,动物可以在没有人工强硬抓捕、强制进食或化学保定等制约及强迫的条件下平静自然地完成各种日常管理和治疗。
为实现上述目的,本实用新型提供如下技术方案:一种降低动物应激反应的训练平台,包括固定训练墙,移动训练墙和卧榻平台,移动训练墙和固定训练墙相对设置并且垂直连接在卧榻平台上,移动训练墙的上、下方分别设置有上固定轨道和下固定轨道,移动移动训练墙可沿上、下固定轨道逐渐靠近固定训练墙,从而使训练动物配合检查,经过此平台训练后的动物在没有人工强硬抓捕、强制进食或化学保定等制约及强迫的条件下可以平静自然地完成各种日常管理和治疗,可以有效提高饲养水平和效率,降低动物的应激反应,从而提高动物配合能力。
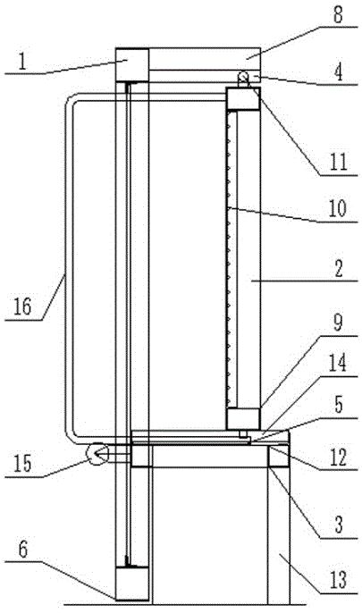
进一步地,固定训练墙包括矩形方钢管架和分布钢筋,分布钢筋交错连接设置在矩形方钢管架内部矩形方钢管架上设置有顶部支撑架,上固定轨道固定在顶部支撑架上,固定训练墙也可以作为隔离墙使用。
进一步地,移动训练墙包括矩形钢管架和扎花编制网,扎花编制网设置在矩形钢管架内部靠近固定训练墙一侧,矩形钢管架的上部固定连接有上定位滑轮并且镶嵌在上固定轨道内,移动训练墙常用于室内使用,扎花编制网可以使用钢绞丝制作。
进一步地,卧榻平台包括矩形平台面和四个支腿,四个支腿分布设置在矩形平台面的四角,矩形平台面上设置有厚实木面层,下固定轨道镶嵌在厚实木面层的两侧,下固定轨道的延长线上设置有下定位滑轮并且与矩形平台面固定连接,卧榻平台可以使用钢结构制作,稳定性好,顶部支撑架可以采用矩形钢管制作。
进一步地,还包括推拉杆,推拉杆的上端固定在矩形钢管架上部靠近固定训练墙一侧,其下端镶嵌在下固定轨道内部与平台面齐平,移动推拉杆可带动移动训练墙逐渐靠近固定训练墙,推拉杆可以采用φ30-φ40的镀锌钢管制作,散养或圈养动物在室内进行医学检查或生理研究的模拟训练时,将移动训练墙和推拉杆下端固定,然后把动物赶到卧榻平台上,拉动推拉杆可带动移动训练墙逐渐靠近固定训练墙将动物夹在中间不得随意移动,从而使训练动物配合检查。
与现有技术相比,本实用新型的有益效果是:
本实用新型结构简单实用、便于操作,适用于动物园对散养或圈养动物进行行为训练、在室内进行动物肌肉注射及b超检查等医学检查和非麻醉情况的前期训练及后期操作。
散养或圈养动物在室内进行医学检查或生理研究的模拟训练时,将动物赶到卧榻平台上,然后移动推拉杆带动移动训练墙逐渐靠近固定训练墙将动物夹在中间不得随意移动,从而使训练动物配合检查,经过此平台训练后的动物在没有人工强硬抓捕、强制进食或化学保定等制约及强迫的条件下可以平静自然地完成各种日常管理和治疗,可以有效提高饲养水平和效率,降低动物的应激反应,从而提高动物配合能力。
附图说明
图1为本实用新型训练平台的1-1剖面图;
图2为本实用新型训练平台的正面示意图;
图3为本实用新型固定训练墙的结构示意图
图4为本实用新型移动训练墙的结构示意图;
图5为本实用新型卧榻平台的结构示意图;
图中:1、固定训练墙;2、移动训练墙;3、卧榻平台;4、上固定轨道;5、下固定轨道;6、矩形方钢管架;7、分布钢筋;8、顶部支撑架;9、矩形钢管架;10、扎花编制网;11、上定位滑轮;12、矩形平台面;13、支腿;14、厚实木面层;15、下定位滑轮;16、推拉杆;
附图仅用于示例性说明,不能理解为对本专利的限制;为了更好说明本实施例,附图某些部件会有省略、放大或缩小,并不代表实际产品的尺寸;对于本领域技术人员来说,附图中某些公知结构及其说明可能省略是可以理解的。
具体实施方式
下面将结合本实用新型实施例中的附图,对本实用新型实施例中的技术方案进行清楚、完整地描述,显然,所描述的实施例仅仅是本实用新型一部分实施例,而不是全部的实施例。基于本实用新型中的实施例,本领域普通技术人员在没有做出创造性劳动前提下所获得的所有其他实施例,都属于本实用新型保护的范围。
下面结合附图和实施例对本实用新型进一步说明,实施例一:
如图1-5所示,一种降低动物应激反应的训练平台,包括固定训练墙1,移动训练墙2和卧榻平台3,移动训练墙2和固定训练墙1相对设置并且垂直连接在卧榻平台上3,移动训练墙2的上、下方分别设置有上固定轨道4和下固定轨道5,移动移动训练墙2可沿上、下固定轨道逐渐靠近固定训练墙1。
散养或圈养动物在室内进行医学检查或生理研究的模拟训练时,将动物赶到卧榻平台3上,然后带动移动训练墙2逐渐靠近固定训练墙1将动物夹在中间不得随意移动,从而使训练动物配合检查,经过此平台训练后的动物在没有人工强硬抓捕、强制进食或化学保定等制约及强迫的条件下可以平静自然地完成各种日常管理和治疗,有效的提高了饲养水平和效率。
如图1-5所示,在上述实施例的基础上,为了便于本发明的具体实施,本实施例二具体公开了固定训练墙1包括矩形方钢管架6和分布钢筋7,矩形方钢管架6上设置有顶部支撑架8,上固定轨道4固定在顶部支撑架8上,移动训练墙2包括矩形钢管架9和扎花编制网10,扎花编制网10设置在矩形钢管架9内部靠近固定训练墙1一侧,矩形钢管架9的上部固定连接有上定位滑轮11,并且镶嵌在上固定轨道4内,卧榻平台3包括矩形平台面12和四个支腿13,四个支腿13分布设置在矩形平台面12的四角,矩形平台面12上设置有厚实木面层14,下固定轨道5镶嵌在厚实木面层14的两侧,下固定轨道5的延长线上设置有下定位滑轮15并且与矩形平台面12固定连接,固定训练墙1也可以作为隔离墙使用,移动训练墙2常用于室内使用,扎花编制网10可以使用钢绞丝制作,卧榻平台3可以使用钢结构制作,稳定性好,顶部支撑架8可以采用矩形钢管制作。
如图1-5所示,在上述实施例的基础上,为了便于带动移动训练墙2逐渐靠近固定训练墙1,本实施例三具体公开了一种降低动物应激反应的训练平台还包括推拉杆16,推拉杆16的上端固定在矩形钢管架9上部靠近固定训练墙1一侧,其下端镶嵌在下固定轨道5内部与平台面齐平,推拉杆16可以采用φ30-φ40的镀锌钢管制作,散养或圈养动物在室内进行医学检查或生理研究的模拟训练时,将移动训练墙2和推拉杆16下端固定,然后把动物赶到卧榻平台3上,拉动推拉杆16可带动移动训练墙2逐渐靠近固定训练墙1将动物夹在中间不得随意移动,从而使训练动物配合检查。
本实用新型的工作原理:散养或圈养动物在室内进行医学检查或生理研究的模拟训练时,将动物赶到卧榻平台3上,然后移动推拉杆4带动移动训练墙2逐渐靠近固定训练墙1将动物夹在中间不得随意移动,从而使训练动物配合检查,经过此平台训练后的动物在没有人工强硬抓捕、强制进食或化学保定等制约及强迫的条件下可以平静自然地完成各种日常管理和治疗,有效的提高了饲养水平和效率。
本实用新型使用到的标准零件均可以从市场上购买,异形件根据说明书的和附图的记载均可以进行订制,各个零件的具体连接方式均采用现有技术中的常规手段,机械、零件和设备均采用现有技术中常规的型号,在此不再详述。
技术特征:
1.一种降低动物应激反应的训练平台,其特征在于:包括固定训练墙(1),移动训练墙(2)和卧榻平台(3),所述移动训练墙(2)和固定训练墙(1)相对设置并且垂直连接在卧榻平台上(3),所述移动训练墙(2)的上、下方分别设置有上固定轨道(4)和下固定轨道(5),移动移动训练墙(2)可沿上、下固定轨道逐渐靠近固定训练墙(1)。
2.据权利要求1所述的一种降低动物应激反应的训练平台,其特征在于,所述固定训练墙(1)包括矩形方钢管架(6)和分布钢筋(7),分布钢筋(7)交错连接设置在矩形方钢管架(6)内部,所述矩形方钢管架(6)上设置有顶部支撑架(8),所述上固定轨道(4)固定在顶部支撑架(8)上。
3.据权利要求2所述的一种降低动物应激反应的训练平台,其特征在于,所述移动训练墙(2)包括矩形钢管架(9)和扎花编制网(10),所述扎花编制网(10)设置在矩形钢管架(9)内部靠近固定训练墙(1)一侧,所述矩形钢管架(9)的上部固定连接有上定位滑轮(11),上定位滑轮(11)镶嵌在上固定轨道(4)内。
4.根据权利要求3所述的一种降低动物应激反应的训练平台,其特征在于,所述卧榻平台(3)包括矩形平台面(12)和四个支腿(13),四个支腿(13)分布设置在矩形平台面(12)的四角,所述平台面(12)上设置有厚实木面层(14),所述下固定轨道(5)镶嵌在厚实木面层(14)的两侧,下固定轨道(5)的延长线上设置有下定位滑轮(15),下定位滑轮(15)与矩形平台面(12)固定连接。
5.据权利要求4所述的一种降低动物应激反应的训练平台,其特征在于,还包括推拉杆(16),推拉杆(16)的上端固定在矩形钢管架(9)上部靠近固定训练墙(1)一侧,其下端镶嵌在下固定轨道(5)内部与平台面齐平,移动推拉杆(16)可带动移动训练墙(2)逐渐靠近固定训练墙(1)。
技术总结
本实用新型属于动物训练平台领域,具体涉及一种降低动物应激反应的训练平台,包括固定训练墙,移动训练墙和卧榻平台,移动训练墙和固定训练墙相对设置并且垂直连接在卧榻平台上,移动训练墙的上、下方分别设置有上固定轨道和下固定轨道,移动移动训练墙可沿上、下固定轨道逐渐靠近固定训练墙,市场上现有的动物保定装置结构复杂,使用不便,制作成本相对较高,不适用于散养或圈养动物日常在室内进行医学检查或生理研究的模拟训练,本实用新型结构简单实用,便于操作,制作成本低。
技术研发人员:杨志刚;景智;丁辉;赵志鹏;李德俊
受保护的技术使用者:太原市第一建筑工程集团有限公司
技术研发日:2020.03.24
技术公布日:2020.11.03
相关知识
一种降低动物应激反应的训练平台的制作方法
一种实验动物心理应激模型装置的制作方法
动物的应激反应药物
如何科学预防动物应激反应?
一种缓解动物运输应激反应的药物处理方法
宠物应激如何预防,降低应激反应!
常见的动物应激反应及其防治措施
小老虎因“应激反应”落水死亡,动物的应激反应也应被关注
缓解动物热应激反应的几种添加剂
动物应激反应的有哪些表现,动物应激了怎么办
网址: 一种降低动物应激反应的训练平台的制作方法 https://www.mcbbbk.com/newsview171353.html
| 上一篇: 理性讨论:救助人(流浪猫)的权力 |
下一篇: 春节期间宠物应激反应增多 伤害急 |
推荐分享
- 1养玉米蛇的危害 28694
- 2狗交配为什么会锁住?从狗狗生 7180
- 3我的狗老公李淑敏33——如何 6236
- 4豆柴犬为什么不建议养?可爱的 4637
- 5南京宠物粮食薄荷饼宠物食品包 4563
- 6中国境内禁养的十大鸟种,你知 4429
- 7湖南隆飞尔动物药业有限公司宠 4259
- 8自制狗狗辅食:棉花面纱犬的美 4257
- 9家养水獭多少钱一只正常 4212
- 10广州哪里卖宠物猫狗的选择性多 4122
